# 3.7.1.00 版本更新 (2025/07/10)
# 关键更新:
# 1、移动端页面设计器增加“应用级导航”功能
移动端底部导航,提供了“应用级别”的导航设置,一处配置,所有页面都生效。配置一个合理的导航,能为用户提供更优的“单应用”访问体验。

配置效果如下:

# 2、自定义页面组件+自定义表单组件:在线IDE,支持素材库功能
自定义页面组件和自定义代码组件的在线 IDE 中,新增组件级的素材库功能,开发组件时,可随时管理组件所属素材,提升开发过程效率。组件素材支持一键插入到代码中、图片素材支持预览,上传到该组件的素材,可随着组件导出与导入。
入口:

优化前:

优化后:

# 3、自定义页面组件-管理列表支持展示组件图标,同时优化列表加载速度
在低码中心的自定义页面组件管理列表中,新增组件图标展示功能。当组件数量较多时,原有的维护方式存在诸多不便。本期优化将组件图标直接展示在组件列表中,让组件信息更直观,维护管理起来更便捷。同时本次也优化提升了列表页的加载速度。
优化前:

优化后:

# 4、页面设计中新增“文本”通用组件
页面设计新增通用类“文本”组件,适用于在页面中作为标题、备注文字等场景。

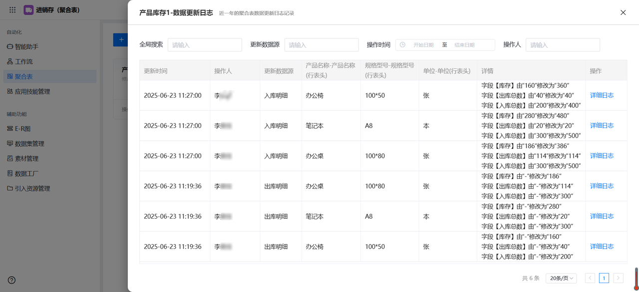
# 5、聚合表新增操作日志和数据更新日志,支持运行端开启修改日志,记录每一步操作和数据变化,提升数据可信度
企业使用聚合表时,常常面临数据变更难追踪、问题排查效率低、数据安全风险高等痛点。为帮助企业更精准地管理数据聚合过程,管理后台新增聚合表操作日志与数据更新日志功能,同时支持在管理后台开启修改日志后,在运行端实时查看日志信息。
该功能围绕“全链路记录、高效排障、安全管控”三大核心价值,清晰记录数据流转过程,提升数据可信度,快速定位问题,保障数据安全。
功能入口:

聚合表操作日志:

数据更新日志:

若聚合表开启了修改日志,也可在聚合表数据的详情页面,查看对应的数据日志 管理平台开启:


运行平台效果:

# 6、聚合查询支持在关联组件的外键选择、子表单、子表关联、关联查询以及多表关联中配置
在关联组件中,支持配置聚合查询字段作为显示字段,本次新增配置的有:
1)外键选择:附加显示字段、展示关联字段、写入关联字段
2)子表单、子表关联、关联查询:显示字段
3)多表关联:中间表显示字段、关联表显示字段、中间表写入(支持写入其他字段)

如下图,多表关联配置聚合查询,实时显示库存数据:

7、聚合表的数字字段支持配置数据类型和设置数据格式
聚合表聚合后的数字字段,支持配置对应的数据类型,如整数/小数/金额等,同时支持数据配置显示小数位、千位符、单位等,满足聚合表数据多种展示样式。
功能入口:


运行端效果:

# 问题修复:
- 修复移动端查看流程中子表单详情时,外键字段未回显到表单的问题。
- 修复移动端表单页面底部仅有一个按钮时,按钮蓝底蓝字导致文字显示不清晰的问题。
- 修复PC端指标卡的列表在切换页面时,页码被重置的问题。
- 修复上传发票触发频繁后,重新上传发票时,统计数量错误且持续加载无法完成上传的问题。
- 修复设置表单组件标题不显示时,点击组件无法选中编辑的问题。
- 修复关联组件所在的多行多列带有边框时,全屏查看关联组件详情时显示错误的问题。
- 修复移动端多表关联组件的关联表添加数据后,已勾选项会自动变为未勾选的问题。



